Thomas Raymond "Ray" Arden (1890-1965)
Biography
In Do You Speak Model Airplane?, author Dave Thornburg asks what are the most important advances in post-war modeling, and puts forward Ray Arden's Glow-plug, GE's cheap transistors, and Top Flite's Monocote as the answers. You may argue about the last two, but the Glow Plug must rank first somewhere in anyone's list. Today, Ray Arden is acknowledged as the Father of the Glow Plug, and well remembered for his Mighty Atom .099, and post-war Arden .099 and .199 cuin engines. As such, it should be no surprise that several biographical web pages already exist. It's rather senseless for Model Engine News to regurgitate their content, so please follow the links below to two comprehensive overviews of Ray Arden's achievements and contributions to model engine history.
The Glow Plug Patent
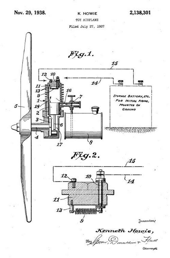
What we can do is to take a closer look at the technicalities of Ray Arden's Glow plug. The Arden glow-plug patent (US 2,482,831) was filed in 1948 and granted in 1949. This is the one which we accept as typifying the modern glow plug. But that patent cites four earlier patents dating back to the 1920's. Of these, Kenneth Howie's 1938 patent resulted in actual product in the shape of H&H (Howie and Heuer) line of engines. An engine using Howie's patented "Hot Coil" which did away with the need for on-board coil, condenser, battery, and timer was ready for production in 1942, but due to the United States entry into the War, it was 1947 before it was advertised. [3]. As can be seen in patent 213830, the element was positioned horizontally, front to back, within the combustion chamber. Workable, but not all that practical, and limited to the H&H .451 engine. Parts for about 250 engines were produced and about 150 engines manufactured.
2138301 |
2482831 |
2500395 |
3911326 |
| Click the image to view the drawing, or the patent number for the full patent document as a pdf. |
|||
At virtually the same time, Ray Arden patented his version of Howie's "Hot Coil", demonstrating it and selling them from the boot of his car at the 1947 Control Line Junior Air Races held at Cleveland, Ohio. While the idea may not have been new, Arden's execution was. By making his "glow plug" a direct, screw-in replacement for the common spark-plugs of the day, literally thousands of spark plug engines instantly became glow plug engines! This explains why many sparkies today are sans timer assembly—it was thrown away, along with the coil, condenser, and battery. The formal introduction of the "Arden Glow Plug" took place one month later at the 1947 Nationals in Minneapolis [1].
Of course, it was not quite as simple as that. While a glow plug might operate with the petrol/oil mixture used by spark engines if the compression ratio was high enough, best results were obtained by using the new "hot fuel" developed by Ed Chamberlin and Ben Shereshaw. This mix, named "Liquid Dynamite" by its creators, was based on methanol and nitromethane [4], so it also happily ate many of the plastic fuel tanks then in use, not to mention the nitrocellulose finish of the models. If you see references to "hot fuel proof" in old model advertising, you now know this meant the type of fuel used, not its temperature! The rights to the glow plug were transferred to Ben Shereshaw in late 1947, or early '48. Shereshaw then sold the rights to Herkimer who made the plugs under the name OK XL-Glow Plugs [3].
Once he had his plug working, it seems Arden wasted no time. The first announcement of the Arden Glow-Plug in Model Airplane News (MAN) appeared in the November, 1947 issue, inviting modelers to "ask their dealer", perhaps buying a bit of time. In the same issue (p47), H&H had an ad for their patented hot-coil ignition engine (though it was not yet called that). Their text is a bit misleading: ...requires no spark plug, coil, condenser, battery or wiring of any kind. Simply mount the engine in your plane and fly...", but then, Arden's claims in the same issue were not all that different.
By the January 1948 issue of MAN, things had hotted up, if you'll excuse the pun. Arden now advertised a price (85c each) and had some early adopters had contest wins at record breaking U-control speeds under their belts. H&H seem to have recognized they were in a battle as their ad was larger and now used the term "Hot Coil Ignition" (p42). But on page 37, OK printed the death notice for H&H's hot-coil with a full page announcement for the first engine specially designed for the Glow Plug; the "new OK Hot Head" (cute). This was really an OK "Super 29" with the timer section of the crankcase nose covered by a fairing. The text is more honest, explaining the need for a starting battery, the need for a "special fuel", and a claim, which may even have been truthful, that the internals had been beefed up to take the stresses of pre-ignition (higher compression ratio would be more like it).
By the end of the year 1948, it was juat about over for the hot-coil. H&H was soldiering on, with small ads that dropped the term "Hot Coil" while claiming they were there first with the "Glow Plug" engine, and were still the leader (in their own eyes). Arden had gone full page and were advertising a new plug utilizing Ray's second glow plug patent featuring replacable hot and cold coil elements, in short and long "reach" versions. OK were advertising their "Hot Head" glow plug engine at $12.50, and shamelessly, on the facing page, their side-door el-cheapo brand, "Mohawk", advertised the Chief as either $8.95 for ignition, or $7.50 for the glow version—almost a buck-half cheaper, and no problem about needing a stronger shaft and rod in a Mohawk, apparently. But the real nail appeared on the back cover where Ohlsson & Rice had gotten in the act with their own design glow-plugs in 1/4-32 and 3/8-24 threads, thus covering both the old sparkie threads. They also offered their .19 and .23 engines as a glow plug version for as little as $8.95, unassembled.
So we can see that Ray Arden might not have "invented" the glow plug, but he sure was responsible for perfecting it into a usable package, coupled with the recently brewed "hot fuel" (ie methanol) that made it a practical proposition for all, then passing it, via Ben Shereshaw, to a major manufacturer (OK) able to promote and run with it in a big way. When you think about it, H&H never stood a chance—take the head off to replace the element? Give me a break! Other major engine manufacturers were quick to drop the troublesome contact breakers, and modelers were freed from coils, condensers, on-board batteries, and endless frustration. "Step-father" of the glow plug is a bit of a mouth full, so let's continue to give Ray Arden acknowledgment as Father of the Glow-Plug.
Other Hot Coils
Before leaving the glow-plug and hot-coil, it's worth mentioning McCoy's bold effort, just for completeness.
In 1949, seeing the way the wind was howling, Dick McCoy looked for a way around the Howie, Arden, and Ohlsson patents. His answer was the McCoy "Duroglow". A zig-zag coil, either nichrome, or platinum-iridium, we're not sure which, was sandwiched between two head gaskets. One side was attached to a metal tab positioned between the gaskets and protruding as an insulated contact. The other end sat on top of one gasket, making contact with the head, or cylinder as a "ground" contact when the screws were tightened [5].
McCoy's advertising in MAN of November, 1949, billed it as "...an improvement in ignition as far advanced as the glow plug was over spark ignition." Now call me Mr Cynical, but I think Blind Freddy and his dog could accurately tell you how long that tab would last in the field. And like the H&H, to change it, you have to remove the head, in the field and all the muck that goes with a day's flying! Oh well, at least the head was still drilled and tapped, so you could unscrew that aluminum plug and screw in an Arden (or Ohlsson) glow-plug. Needless to say, McCoy's "improvement" quietly disappeared in a short space of time and before long, you could screw in a McCoy glow-plug as well.
Other Arden Patents
As mentioned in the referenced biographies, Ray Arden was a dedicated, serial patenter—if you'll excuse that abuse of the English language. From the article about him appearing in the May 1939 issue of Popular Science, we know that by age 49, he was reputed to have taken out over 400 patents. At this time, his first glow plug patent was still ten years in the future and he probably kept on inventing after that. However taking out a patent did not cost as much then as it does now, when securing your intellectual property in all major international markets is vital, hence complicated, time consuming, and expensive.
You can find several of Ray Arden's patents on-line through Google Patents. Some those which are relevant to model engines are shown below, with links to the full on-line document below the images. For the rest, enter "patent thomas ray arden" into the Google search engine and you'll discover his penchant for patenting unlikely toys, including things sure to delight boys of his bye-gone age, such as pop-guns and toy projective weapons!
Of the patents shown above, take special note of 2274644 (1939), and 2412195 (1943). These patents, respectively, introduce the ball-joint conrod, and a system providing 360° exhaust with milled internal transfer channels, both later adopted by OK, Cox, and many, many others. By creating a way for a model engine to keep running without on-board coil and batteries, Ray Arden killed of the most popular and practical engine cut-off of the time: break the ignition circuit. Obviously recognizing this, he patented two devices for stopping glow plug engines. The devices are shown in patents 2557626, and 2574314, both filed in 1948. Both of these display remarkable ingenuity and complexity in addressing a relatively simple problem.
Engines
Our wander through the genesis of the glow-plug has touched several times on the two basic model engine designs marketed under the Arden name. Both feature unique fuel and air metering systems (Arden patents, naturally), together with Arden porting, and ball and socket little-ends. Both were compact, quite powerful, well-made, and certainly out of the rut, design-wise.
As we leave Ray's engines, have a look the Arden advertisement from MAN of March, 1947 (right) for Arden's Flight Chassis, which was available with and without engine. Now compare this with his 1948 Patent 2557626. The Flight Chassis contained all the ignition paraphernalia, an ignition cut-out timer, and even the landing gear. The result was a fully self-contained, easily interchangable power egg. It looks like his 1948 patent was heading in the same direction, except it did not need any ignition components, and had to stop the (glow) engine by killing primary compression and so (hopefully) stopping fuel suction, eventually. It did not go into production—cutting off the fuel supply was far simpler.
Conclusion
Ray Arden was primarily an inventor, but one with a deep passion for model aircraft. He was directly responsible for two distinctive designs model internal combustion engine which bear his name, and several others, which don't. He was also the man who gave us the glow-plug. Let's close with a story about a young Ray Arden from Do You Speak Model Airplane. In this book, author, Dave Thornburg, relates how Arden flew a massive, experimental five pound, "gassie" (ie, internal combustion) model in Central Park, in either 1904, 1907, or 1909, depending on who you talk to. The model nearly decapitated a young New York woman, who Arden married, probably to avoid a lawsuit. Arden did not repeat his experiment, saying a repeat may have led to bigamy charges [6].
References
| [1] | various: https://www.modelaircraft.org/files/ArdenRay.pdf, accessed 2012-07-05. |
| [2] | anon: http://www.craftsmanshipmuseum.com/arden.htm, accessed 2012-07-05. |
| [3] | Drozda, Mike: H&H Motor, The Engine Collectors' Journal, Volume 9, Number 6, Issue 48, The Model Museum, Buena Vista CO USA, 1973. |
| [4] | Gierke, D: Power: Beyond the Basics, Air Age Media, Wilton CT, 2006, p96. |
| [5] | Dannels, T: McCoy .098 Duro-Glow: a different approach, The Engine Collectors' Journal, Volume 27, Number 5, Issue 4155, The Model Museum, Buena Vista CO USA, 1973. |
| [6] | Thornburg, D: Do You Speak Model Airplane, by Dave Thornburg, Pony X Press, 1992, p25. |
































